Tìm nhanh
sản phẩm
i-cart.png0

KHUNG QUY ĐỊNH BẢNG TREO TƯỜNG

Monday, 13/10/2025, 08:57 GMT+7
logo-cong-ty

KHUNG QUY ĐỊNH BẢNG TREO TƯỜNG

1. Mục tiêu:

Giúp cho sản phẩm gắn vào tường chắc chắn, thẳng, không bị cong vênh, đảm bảo thẩm mỹ và an toàn khi sử dụng.

2. Nội dung cách lắp bảng treo tường:

Bước 1: Xác định vị trí tường treo

  • Đo đạc vị trí theo yêu cầu sử dụng (chiều cao trung bình từ 80–100 cm tính từ mặt đất đến mép dưới bảng).
  • Dùng thước và bút chì kẻ đường ngang để xác định vị trí chuẩn.

Bước 2: Kiểm tra bề mặt tường

  • Đảm bảo tường phẳng, khô ráo, không bị ẩm mốc hoặc bong tróc.
  • Nếu tường yếu (thạch cao, tường cũ, vôi mục), cần gia cố hoặc chọn loại tắc kê, bát treo phù hợp.

Bước 3: Đo và đánh dấu vị trí khoan lỗ

  • Dựa theo khoảng cách giữa các điểm treo trên bảng, dùng thước đo và đánh dấu chính xác lên tường.
  • Kiểm tra lại độ cân bằng cân đối nhất bằng thước thủy.

Bước 4: Khoan và lắp tắc kê

  • Dùng máy khoan tạo lỗ tại các điểm đã đánh dấu.
  • Lắp tắc kê nhựa vào tường bê tông hoặc tắc kê bướm vào tường thạch cao để đảm bảo độ chắc chắn khi bắt vít.

Bước 5: Gắn bát treo hoặc giá đỡ lên tường

  • Dùng vít cố định bát treo hoặc giá đỡ theo vị trí tắc kê.
  • Kiểm tra lại độ cân đối và độ chắc chắn của bát treo.

Bước 6: Treo bảng lên bát hoặc giá đỡ

  • Cẩn thận nâng bảng lên và treo vào đúng vị trí bát hoặc khớp nối.
  • Đảm bảo bảng nằm đúng chiều, không bị nghiêng hoặc lệch.

Bước 7: Kiểm tra, chuẩn chỉnh và hoàn thiện

  • Dùng thước thủy để kiểm tra lại độ cân bằng của bảng.
  • Siết chặt lại các vít nếu cần.
  • Vệ sinh sạch sẽ khu vực lắp đặt, đảm bảo bảng hoạt động tốt và thẩm mỹ.

3. Hình ảnh minh họa lắp đặt sản phẩm bảng treo tường của BAVICO:

1. Bảng Poly Taiwan

poly-taiwan

2. Bảng Greenlam

 

greenlam

3. Bảng từ Greenlam

 

tu-greenlam

4. Bảng từ Hàn Quốc

 

tu-han-quoc

5. Bảng từ Ceramic Bỉ

 

tu-ceramic-cua-bi

 

BẢNG QUY ĐỊNH SỐ LƯƠNG PÁT CẦN GẮN ĐẠT TIÊU CHUẨN

KÍCH THƯỚC BẢNG
Cao x Ngang (CM)

SỐ PÁT TỐI  THIỂU CẦN GẮN

TRÊN

DƯỚI

2 BÊN

40x60,

60x80,

60x100,

60x120,

80x100,

80x120,

100x120,

120x120

02

02

0

SƠ ĐỒ

so-do-lap-bang-1

120x140,

120x160,

120x180,

120x200,

120x240,

120x300,

120x320,

120x340

03

03

01

SƠ ĐỒ

so-do-lap-bang-2

120x360,

120x380,

120x400,

120x420,

120x460,

120x480

04

04

02

SƠ ĐỒ

so-do-lap-bang-3

 

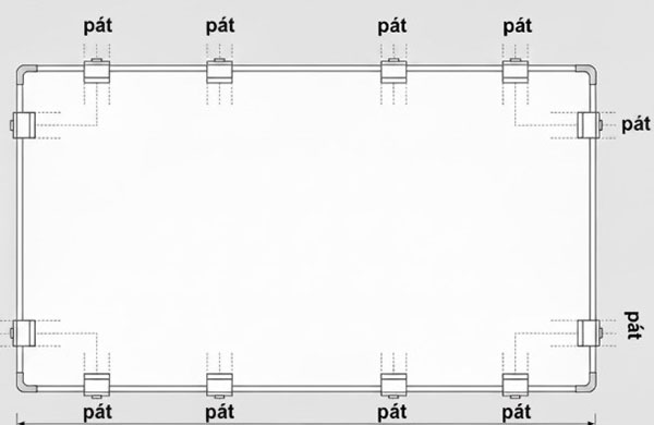
Ví dụ: Bảng từ Hàn Quốc treo tường (viết bút lông hoặc viết phấn) kích thước 120 x 360 cm cần được lắp đặt đúng tiêu chuẩn kỹ thuật với 4 pát trên, 4 pát dưới và 2 pát hai bên hông để đảm bảo độ chắc chắn và an toàn sử dụng.

Hậu quả: Nếu bảng không được lắp đặt đúng theo tiêu chuẩn kỹ thuật nêu trên, bảng có thể bị cong vênh hoặc mo, do mặt sau được làm từ ván MDF dày 6 ly, dễ bị biến dạng khi chịu lực không đều.

lap-dat-bang-120x360cm

4. KẾT LUẬN

  • Tất cả các dòng bảng treo tường đều được lắp đặt theo hình ảnh minh họa kèm theo.
  • Khách hàng cần tuân thủ đúng quy trình lắp bảng để đảm bảo sản phẩm bền lâu.

                                                                                      GIÁM ĐỐC CÔNG TY

 

                                                                                    TRƯƠNG VĂN THÀNH

Reviews